#python 实现 DES 加密
#DES 算法原理
DES 算法是一种最通用的对称密钥算法,因为算法本身是公开的,所以其安全性取决于密钥的安全性。 基于密钥的算法通常有两类:对称算法和公开密钥算法。 对称算法的对称性体现在加密密钥能够从解密密钥推算出来,反之亦然。 在大多数对称算法中,加解密的密钥是相同的,DES 就是这样。 可见,对称密钥算法的加解密密钥都是保密的。 而公开密钥算法的密钥有两个(公钥和私钥),公钥是公开的,私钥是保密的。
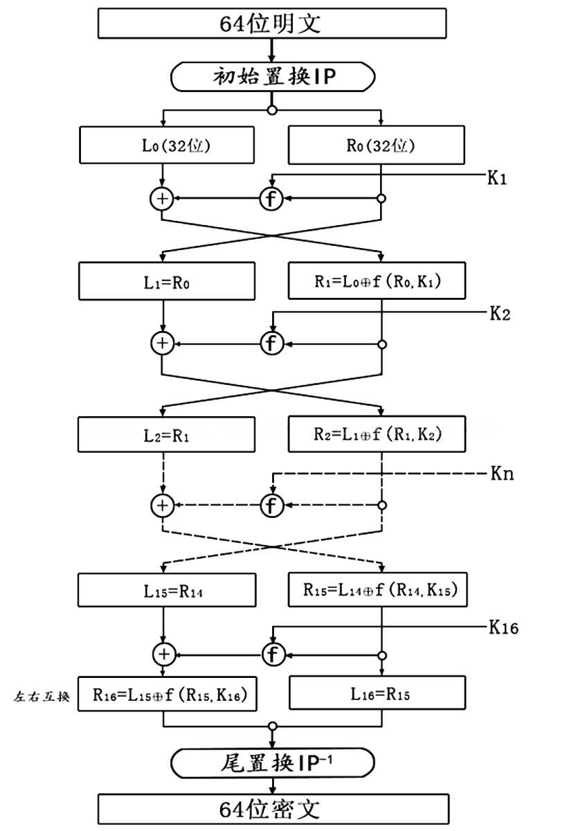
下面是 DES 加密算法的整体流程图:

从上面的流程图可以看出,DES 加密主要由四个部分完成:
- 初始置换 IP
- 子密钥 Ki 的获取
- 密码函数 f
- 尾置换 FP
其中,第二部分和第三部分是 DES 算法的核心。 注意:DES 解密算法与加密算法完全相同,只需要将子密钥的使用顺序反过来就行了。
下面针对这四个步骤分别讲一下大致思路。
#1.初始置换 IP
这一部分很简单,IP(initial permutation)是一个 8x8 的置换表:
IP = (58, 50, 42, 34, 26, 18, 10, 2,
60, 52, 44, 36, 28, 20, 12, 4,
62, 54, 46, 38, 30, 22, 14, 6,
64, 56, 48, 40, 32, 24, 16, 8,
57, 49, 41, 33, 25, 17, 9, 1,
59, 51, 43, 35, 27, 19, 11, 3,
61, 53, 45, 37, 29, 21, 13, 5,
63, 55, 47, 39, 31, 23, 15, 7)根据表中的规定,将输入的 64 位明文重新进行排序,即将第 58 位放到第 1 位,第 50 位放到第 2 位……以此类推。 初始置换以后得到的是一个 64 位的输出。
#2.子密钥 Ki 的获取
下面是获取子密钥 Ki 的流程图:

- 用户输出的密钥是 64 位的,根据密钥置换表 PC-1,将 64 位变成 56 位密钥。(去掉了奇偶校验位)
- 将 PC-1 置换得到的 56 位密钥,分为前 28 位 C0 和后 28 位 D0,分别对它们进行循环左移,C0 左移得到 C1,D0 左移得到 D1。
- 将 C1 和 D1 合并成 56 位,然后通过 PC-2 表进行压缩置换,得到当前这一轮的 48 位子密钥 K1 。
- 然后对 C1 和 D1 进行左移和压缩置换,获取下一轮的子密钥……一共进行 16 轮,得到 16 个 48 位的子密钥。
PC-1 和 PC-2 如下:
PC_1L = (57, 49, 41, 33, 25, 17, 9,
1, 58, 50, 42, 34, 26, 18,
10, 2, 59, 51, 43, 35, 27,
19, 11, 3, 60, 52, 44, 36)
PC_1R = (63, 55, 47, 39, 31, 23, 15,
7, 62, 54, 46, 38, 30, 22,
14, 6, 61, 53, 45, 37, 29,
21, 13, 5, 28, 20, 12, 4)
PC_2 = (14, 17, 11, 24, 1, 5,
3, 28, 15, 6, 21, 10,
23, 19, 12, 4, 26, 8,
16, 7, 27, 20, 13, 2,
41, 52, 31, 37, 47, 55,
30, 40, 51, 45, 33, 48,
44, 49, 39, 56, 34, 53,
46, 42, 50, 36, 29, 32)#3.密码函数 f
下面是密码函数 f(R, K)的流程图:

密码函数 f(R, K)接受两个输入:32 位的数据和 48 位的子密钥。然后:
- 通过表 E 进行扩展置换,将输入的 32 位数据扩展为 48 位
- 将扩展后的 48 位数据与 48 位的子密钥进行异或运算
- 将异或得到的 48 位数据分成 8 个 6 位的块,每一个块通过对应的一个 S 表产生一个 4 位的输出。其中,每个 S 表都是 4 行 16 列。具体的置换过程如下:把 6 位输入中的第 1 位和第 6 位取出来行成一个两位的二进制数 x ,作为 Si 表中的行数(0
3);把 6 位输入的中间 4 位构成另外一个二进制数 y,作为 Si 表的列数(015);查出 Si 表中 x 行 y 列所对应的整数,将该整数转换为一个 4 位的二进制数 - 把通过 S 表置换得到的 8 个 4 位连在一起,形成一个 32 位的数据。然后将该 32 位数据通过表 P 进行置换(称为 P-置换),置换后得到一个仍然是 32 位的结果数据,这就是 f(R, K)函数的输出
这部分用到了扩展置换表 E,8 个 S 表以及 P-置换表:
E = (32, 1, 2, 3, 4, 5,
4, 5, 6, 7, 8, 9,
8, 9, 10, 11, 12, 13,
12, 13, 14, 15, 16, 17,
16, 17, 18, 19, 20, 21,
20, 21, 22, 23, 24, 25,
24, 25, 26, 27, 28, 29,
28, 29, 30, 31, 32, 1)
P = (16, 7, 20, 21,
29, 12, 28, 17,
1, 15, 23, 26,
5, 18, 31, 10,
2, 8, 24, 14,
32, 27, 3, 9,
19, 13, 30, 6,
22, 11, 4, 25)
S = [[[14, 4, 13, 1, 2, 15, 11, 8, 3, 10, 6, 12, 5, 9, 0, 7],
[0, 15, 7, 4, 14, 2, 13, 1, 10, 6, 12, 11, 9, 5, 3, 8],
[4, 1, 14, 8, 13, 6, 2, 11, 15, 12, 9, 7, 3, 10, 5, 0],
[15, 12, 8, 2, 4, 9, 1, 7, 5, 11, 3, 14, 10, 0, 6, 13]],
[[15, 1, 8, 14, 6, 11, 3, 4, 9, 7, 2, 13, 12, 0, 5, 10],
[3, 13, 4, 7, 15, 2, 8, 14, 12, 0, 1, 10, 6, 9, 11, 5],
[0, 14, 7, 11, 10, 4, 13, 1, 5, 8, 12, 6, 9, 3, 2, 15],
[13, 8, 10, 1, 3, 15, 4, 2, 11, 6, 7, 12, 0, 5, 14, 9]],
[[10, 0, 9, 14, 6, 3, 15, 5, 1, 13, 12, 7, 11, 4, 2, 8],
[13, 7, 0, 9, 3, 4, 6, 10, 2, 8, 5, 14, 12, 11, 15, 1],
[13, 6, 4, 9, 8, 15, 3, 0, 11, 1, 2, 12, 5, 10, 14, 7],
[1, 10, 13, 0, 6, 9, 8, 7, 4, 15, 14, 3, 11, 5, 2, 12]],
[[7, 13, 14, 3, 0, 6, 9, 10, 1, 2, 8, 5, 11, 12, 4, 15],
[13, 8, 11, 5, 6, 15, 0, 3, 4, 7, 2, 12, 1, 10, 14, 9],
[10, 6, 9, 0, 12, 11, 7, 13, 15, 1, 3, 14, 5, 2, 8, 4],
[3, 15, 0, 6, 10, 1, 13, 8, 9, 4, 5, 11, 12, 7, 2, 14]],
[[2, 12, 4, 1, 7, 10, 11, 6, 8, 5, 3, 15, 13, 0, 14, 9],
[14, 11, 2, 12, 4, 7, 13, 1, 5, 0, 15, 10, 3, 9, 8, 6],
[4, 2, 1, 11, 10, 13, 7, 8, 15, 9, 12, 5, 6, 3, 0, 14],
[11, 8, 12, 7, 1, 14, 2, 13, 6, 15, 0, 9, 10, 4, 5, 3]],
[[12, 1, 10, 15, 9, 2, 6, 8, 0, 13, 3, 4, 14, 7, 5, 11],
[10, 15, 4, 2, 7, 12, 9, 5, 6, 1, 13, 14, 0, 11, 3, 8],
[9, 14, 15, 5, 2, 8, 12, 3, 7, 0, 4, 10, 1, 13, 11, 6],
[4, 3, 2, 12, 9, 5, 15, 10, 11, 14, 1, 7, 6, 0, 8, 13]],
[[4, 11, 2, 14, 15, 0, 8, 13, 3, 12, 9, 7, 5, 10, 6, 1],
[13, 0, 11, 7, 4, 9, 1, 10, 14, 3, 5, 12, 2, 15, 8, 6],
[1, 4, 11, 13, 12, 3, 7, 14, 10, 15, 6, 8, 0, 5, 9, 2],
[6, 11, 13, 8, 1, 4, 10, 7, 9, 5, 0, 15, 14, 2, 3, 12]],
[[13, 2, 8, 4, 6, 15, 11, 1, 10, 9, 3, 14, 5, 0, 12, 7],
[1, 15, 13, 8, 10, 3, 7, 4, 12, 5, 6, 11, 0, 14, 9, 2],
[7, 11, 4, 1, 9, 12, 14, 2, 0, 6, 10, 13, 15, 3, 5, 8],
[2, 1, 14, 7, 4, 10, 8, 13, 15, 12, 9, 0, 3, 5, 6, 11]]]#4.尾置换 FP
合并 L16 和 R16 得到一个 64 位的数据,再经过尾置换后得到的就是 64 位的密文。 注意:要将 L16 和 R16 合并成 R16L16(即左右互换)。 尾置换表 FP 如下:
FP = (40, 8, 48, 16, 56, 24, 64, 32,
39, 7, 47, 15, 55, 23, 63, 31,
38, 6, 46, 14, 54, 22, 62, 30,
37, 5, 45, 13, 53, 21, 61, 29,
36, 4, 44, 12, 52, 20, 60, 28,
35, 3, 43, 11, 51, 19, 59, 27,
34, 2, 42, 10, 50, 18, 58, 26,
33, 1, 41, 9, 49, 17, 57, 25)#python 实现
IP = (58, 50, 42, 34, 26, 18, 10, 2,
60, 52, 44, 36, 28, 20, 12, 4,
62, 54, 46, 38, 30, 22, 14, 6,
64, 56, 48, 40, 32, 24, 16, 8,
57, 49, 41, 33, 25, 17, 9, 1,
59, 51, 43, 35, 27, 19, 11, 3,
61, 53, 45, 37, 29, 21, 13, 5,
63, 55, 47, 39, 31, 23, 15, 7)
FP = (40, 8, 48, 16, 56, 24, 64, 32,
39, 7, 47, 15, 55, 23, 63, 31,
38, 6, 46, 14, 54, 22, 62, 30,
37, 5, 45, 13, 53, 21, 61, 29,
36, 4, 44, 12, 52, 20, 60, 28,
35, 3, 43, 11, 51, 19, 59, 27,
34, 2, 42, 10, 50, 18, 58, 26,
33, 1, 41, 9, 49, 17, 57, 25)
E = (32, 1, 2, 3, 4, 5,
4, 5, 6, 7, 8, 9,
8, 9, 10, 11, 12, 13,
12, 13, 14, 15, 16, 17,
16, 17, 18, 19, 20, 21,
20, 21, 22, 23, 24, 25,
24, 25, 26, 27, 28, 29,
28, 29, 30, 31, 32, 1)
P = (16, 7, 20, 21,
29, 12, 28, 17,
1, 15, 23, 26,
5, 18, 31, 10,
2, 8, 24, 14,
32, 27, 3, 9,
19, 13, 30, 6,
22, 11, 4, 25)
S = [[[14, 4, 13, 1, 2, 15, 11, 8, 3, 10, 6, 12, 5, 9, 0, 7],
[0, 15, 7, 4, 14, 2, 13, 1, 10, 6, 12, 11, 9, 5, 3, 8],
[4, 1, 14, 8, 13, 6, 2, 11, 15, 12, 9, 7, 3, 10, 5, 0],
[15, 12, 8, 2, 4, 9, 1, 7, 5, 11, 3, 14, 10, 0, 6, 13]],
[[15, 1, 8, 14, 6, 11, 3, 4, 9, 7, 2, 13, 12, 0, 5, 10],
[3, 13, 4, 7, 15, 2, 8, 14, 12, 0, 1, 10, 6, 9, 11, 5],
[0, 14, 7, 11, 10, 4, 13, 1, 5, 8, 12, 6, 9, 3, 2, 15],
[13, 8, 10, 1, 3, 15, 4, 2, 11, 6, 7, 12, 0, 5, 14, 9]],
[[10, 0, 9, 14, 6, 3, 15, 5, 1, 13, 12, 7, 11, 4, 2, 8],
[13, 7, 0, 9, 3, 4, 6, 10, 2, 8, 5, 14, 12, 11, 15, 1],
[13, 6, 4, 9, 8, 15, 3, 0, 11, 1, 2, 12, 5, 10, 14, 7],
[1, 10, 13, 0, 6, 9, 8, 7, 4, 15, 14, 3, 11, 5, 2, 12]],
[[7, 13, 14, 3, 0, 6, 9, 10, 1, 2, 8, 5, 11, 12, 4, 15],
[13, 8, 11, 5, 6, 15, 0, 3, 4, 7, 2, 12, 1, 10, 14, 9],
[10, 6, 9, 0, 12, 11, 7, 13, 15, 1, 3, 14, 5, 2, 8, 4],
[3, 15, 0, 6, 10, 1, 13, 8, 9, 4, 5, 11, 12, 7, 2, 14]],
[[2, 12, 4, 1, 7, 10, 11, 6, 8, 5, 3, 15, 13, 0, 14, 9],
[14, 11, 2, 12, 4, 7, 13, 1, 5, 0, 15, 10, 3, 9, 8, 6],
[4, 2, 1, 11, 10, 13, 7, 8, 15, 9, 12, 5, 6, 3, 0, 14],
[11, 8, 12, 7, 1, 14, 2, 13, 6, 15, 0, 9, 10, 4, 5, 3]],
[[12, 1, 10, 15, 9, 2, 6, 8, 0, 13, 3, 4, 14, 7, 5, 11],
[10, 15, 4, 2, 7, 12, 9, 5, 6, 1, 13, 14, 0, 11, 3, 8],
[9, 14, 15, 5, 2, 8, 12, 3, 7, 0, 4, 10, 1, 13, 11, 6],
[4, 3, 2, 12, 9, 5, 15, 10, 11, 14, 1, 7, 6, 0, 8, 13]],
[[4, 11, 2, 14, 15, 0, 8, 13, 3, 12, 9, 7, 5, 10, 6, 1],
[13, 0, 11, 7, 4, 9, 1, 10, 14, 3, 5, 12, 2, 15, 8, 6],
[1, 4, 11, 13, 12, 3, 7, 14, 10, 15, 6, 8, 0, 5, 9, 2],
[6, 11, 13, 8, 1, 4, 10, 7, 9, 5, 0, 15, 14, 2, 3, 12]],
[[13, 2, 8, 4, 6, 15, 11, 1, 10, 9, 3, 14, 5, 0, 12, 7],
[1, 15, 13, 8, 10, 3, 7, 4, 12, 5, 6, 11, 0, 14, 9, 2],
[7, 11, 4, 1, 9, 12, 14, 2, 0, 6, 10, 13, 15, 3, 5, 8],
[2, 1, 14, 7, 4, 10, 8, 13, 15, 12, 9, 0, 3, 5, 6, 11]]]
PC_1L = (57, 49, 41, 33, 25, 17, 9,
1, 58, 50, 42, 34, 26, 18,
10, 2, 59, 51, 43, 35, 27,
19, 11, 3, 60, 52, 44, 36)
PC_1R = (63, 55, 47, 39, 31, 23, 15,
7, 62, 54, 46, 38, 30, 22,
14, 6, 61, 53, 45, 37, 29,
21, 13, 5, 28, 20, 12, 4)
PC_2 = (14, 17, 11, 24, 1, 5,
3, 28, 15, 6, 21, 10,
23, 19, 12, 4, 26, 8,
16, 7, 27, 20, 13, 2,
41, 52, 31, 37, 47, 55,
30, 40, 51, 45, 33, 48,
44, 49, 39, 56, 34, 53,
46, 42, 50, 36, 29, 32)
def Permute(block, b_len, PP):
# 通过置换矩阵PP对block进行置换,b_len是块长度(位,bit)
res = 0
for i in PP:
res = res << 1
# 第i-1的位置 即倒数第
res |= (block >> (b_len - i)) & 0x01
return res
def bytesToblocks(m):
# 字节序列转换位blocks b'\x00\x01\x02\x03\xff\xff\xff\xff' -> [0x00010203,0xffffffff]
while len(m) % 8 != 0:
m += b'\x00'
blocks = []
for i in range(len(m) // 4):
blocks.append((m[4 * i] << 24) | (m[4 * i + 1] << 16) |
(m[4 * i + 2] << 8) | (m[4 * i + 3]))
return blocks
def blocksTobytes(blocks):
# blocks转换为字节序列 [0x00010203,0xffffffff] -> b'\x00\x01\x02\x03\xff\xff\xff\xff'
res = b''
for i in blocks:
res += i.to_bytes(4, byteorder="big")
return res
L = lambda x, n: ((x << n) | (x >> (28 - n))) & 0x0fffffff
# 对一个28bits的数x进行循环左移n位
class DES(object):
def F(self, block, subKeyid):
"""
:param block: 32bits
:param subKeyid:
:return: res: 32bits
"""
temp = Permute(block, 32, E) ^ self.subKs[subKeyid]
res = 0
for i in range(8):
res = res << 4
yxxxxy = (temp >> 6 * (7 - i)) & 0x3f
xxxx = (yxxxxy & 0x1f) >> 1
yy = ((yxxxxy >> 5) << 1) | (yxxxxy & 0x01)
res |= S[i][yy][xxxx]
res = Permute(res, 32, P)
return res & 0xffffffff
def __init__(self, K: bytes):
# 通过密钥K生成实例
self.K = K
self.K_blocks = bytesToblocks(K)[:2]
# 生成字密钥self.subKs[16]
self.subKs = None
self.generate_subKs()
def Encrypt(self, m: bytes) -> bytes:
# 加密
blocks = bytesToblocks(m)
cblocks = []
for i in range(len(blocks) // 2):
# 每个64bits的高32bits,低32bits
high, low = blocks[2 * i], blocks[2 * i + 1]
# 第一步:初始置换IP
temp = Permute((high << 32) | low, 64, IP) & 0xffffffffffffffff
# 第二步:获取 Li 和 Ri
high, low = temp >> 32, temp & 0xffffffff
# 第三步:共16轮迭代
for j in range(16):
high, low = low, (high ^ self.F(low, j))
# 第四步:合并L16和R16,注意合并为 R16L16
high, low = low, high
# 第五步:末尾置换FP
temp = Permute((high << 32) | low, 64, FP) & 0xffffffffffffffff
high, low = temp >> 32, temp & 0xffffffff
cblocks.append(high)
cblocks.append(low)
return blocksTobytes(cblocks)
def Decrypt(self, e: bytes) -> bytes:
# 解密
blocks = bytesToblocks(e)
cblocks = []
for i in range(len(blocks) // 2):
# 每个64bits的高32bits,低32bits
high, low = blocks[2 * i], blocks[2 * i + 1]
# 第一步:初始置换IP
temp = Permute((high << 32) | low, 64, IP) & 0xffffffffffffffff
# 第二步:获取 Li 和 Ri
high, low = temp >> 32, temp & 0xffffffff
# 第三步:共16轮迭代, 子密钥逆序
for j in range(16):
high, low = low, (high ^ self.F(low, 15 - j))
# 第四步:合并L16和R16,注意合并为 R16L16
high, low = low, high
# 第五步:末尾置换FP
temp = Permute((high << 32) | low, 64, FP) & 0xffffffffffffffff
high, low = temp >> 32, temp & 0xffffffff
cblocks.append(high)
cblocks.append(low)
return blocksTobytes(cblocks)
def generate_subKs(self):
# print(bin((self.K_blocks[0] << 32) | self.K_blocks[1])[2:].rjust(32, '0'))
C = Permute((self.K_blocks[0] << 32) | self.K_blocks[1], 64, PC_1L) & 0x0fffffff
D = Permute((self.K_blocks[0] << 32) | self.K_blocks[1], 64, PC_1R) & 0x0fffffff
# print(bin(C)[2:].rjust(28, '0'))
# print(bin(D)[2:].rjust(28, '0'))
self.subKs = []
for i in range(16):
if i in (0, 1, 8, 15):
C, D = L(C, 1), L(D, 1)
else:
C, D = L(C, 2), L(D, 2)
self.subKs.append(Permute((C << 28) | D, 56, PC_2))
# print(hex(self.subKs[i]))
def getK(self) -> bytes:
# 返回密钥K
return self.K
def generateK(self) -> bytes:
# 随机产生密钥K
pass
def print_bytes_hex(m):
for i in m:
print(hex(i)[2:].rjust(2, '0'), end='')
print()
if __name__ == '__main__':
# 密钥不足64bits 添零,多于64bits 使用前64bits
# messages 不足64bits的倍数 补零
m = b'https://blog.vhcffh.com' # 明文
k = b'123456' # 密钥
a = DES(k)
cc = a.Encrypt(m)
mm = a.Decrypt(cc)
print("明文:", end='')
print(m)
print("密钥:", end='')
print(a.K)
print("密文:", end='')
print_bytes_hex(cc) # 以bytes输出
print("解密:", end='')
print(mm)